
1.控制箱面板示意圖

圖 2 面板布局圖
1、五芯航插 2、接地端子 3、電源插座 4、電源開關 5、過壓整定撥碼 6、電壓調節旋鈕 7、電流表頭 8、高壓斷帶燈按鈕 9、高壓通帶燈按鈕 10、0.75 倍帶燈按鈕 11、電壓表頭
說明:
(1)中頻及測量電纜快速連接插座:用于機箱與倍壓筒的連接。連接時 只需對準將電纜插頭壓下順時針方向轉動到位,拆線時只需逆時針轉動電纜 插頭。
(2)控制箱接地端子:控制箱接地端子與倍壓筒接地端子及試品接地端 連接為一點后再與接地網相連。
(3)電源輸入插座:將隨機配備的電源線與電源輸入插座相連。(交流 220V±10%,插座內自帶保險管。
(4)電源開關:向前按下,電源接通,高壓斷紅燈亮。反之為關斷。
(5)過壓整定撥盤:用于設定過電壓保護值。撥盤所顯示單位為 kV,設 定值為試驗電壓的 1.1 倍。
(6)電壓調節電位器:該電位器為多圈電位器。順時針旋轉為升壓,反 之為降壓。此電位器具備控制電子零位保護功能,因此升壓前必須先回零。
(7)數顯電流表:數字顯示直流高壓輸出電流。
(8)紅色帶燈按鈕:高壓斷紅燈亮,表示電源已接通及高壓斷開。在高 壓通綠燈亮狀態下按下高壓斷紅色按鈕,綠燈滅紅燈亮,高壓回路切斷。
(9)綠色帶燈按鈕:高壓接通按鈕、高壓指示燈。在高壓斷紅燈亮的狀 態下,按下高壓通綠色按鈕后,綠燈亮紅燈滅,表示高壓回路接通,此時可 升壓。此按鈕須在電壓調節電位器回零狀態下才有效。如按下高壓通綠色按 鈕,綠燈亮紅燈仍亮,但松開綠色按鈕綠燈滅紅燈亮,表示機內保護電路已 工作,此時必須關機檢查過壓整定撥碼開關設置是否小于滿量的 5%及有無其 它故障后再開機。
(10)黃色帶燈按鈕:高壓通綠燈亮時有效,當按下 0.75UDC1mA黃色按鈕后黃燈亮,輸出高壓降至原來的 0.75 倍,并在一分鐘內保持此狀態。此功能 是專為氧化鋅避雷器快速測量 0.75UDC1mA用。按下高壓斷紅色按鈕,紅燈亮、 綠燈和黃燈滅,高壓切斷并退出 0.75 倍狀態。
(11)數顯電壓表:數字顯示直流高壓輸出電壓。
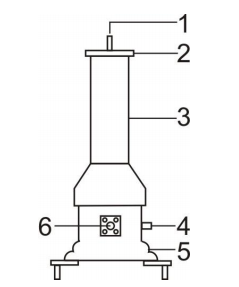
2.倍壓筒示意圖

圖 3 倍壓筒示意圖
1.高壓引出接線柱(可連接微安表和水阻)
2.均壓球
3.倍壓筒體
4.接地端子
5.底座
6.中頻連接端子
(3)試驗回路連接圖

免責聲明